Système de chauffage économique d'une maison de campagne basée sur une chaudière à combustible solide, de "A" à "Z"
Dans le matériel présenté, dans l'ordre, toutes les étapes de la création d'un système de chauffage efficace pour une maison de campagne avec une chaudière à combustible solide sont prises en compte. En commençant par le choix de l'équipement et le calcul de la puissance, en terminant par les schémas d'installation et les règles de fonctionnement.

Contenu:
- Choisir le type optimal de chaudière et d'équipement à combustible solide
- Caractéristiques d'installation et d'agencement de la chaufferie
- Utilisation d'un accumulateur de chaleur et calcul de son volume pour une chaudière à combustible solide
- Différents types et configurations de tuyauterie de chaudière à combustible solide
Choisir le type optimal de chaudière et d'équipement à combustible solide
À l'heure actuelle, il existe 4 principaux types de chaudières à combustible solide.
Traditionnel, c'est classique
Conception moralement obsolète, avec une efficacité extrêmement faible - moins de 60%. Il nécessite un entretien fréquent, un chargement manuel du carburant de 4 à 8 fois par jour. Les principaux avantages sont un faible coût, une grande fiabilité et une extrême simplicité.
Chaudières à combustion longue
Leur technologie a été développée dans les années 70 du siècle dernier et a abouti à sa conclusion logique en utilisant des moyens modernes de contrôle de la température. La présence de pompes de circulation à circulation forcée rend ce système un peu plus efficace que le classique, mais volatil. Sans entrer dans les particularités du processus de combustion, nous notons que le chargement de combustible dans une chaudière à combustion longue peut se produire exclusivement de manière cyclique - ce qui n'est pas économique avec des changements fréquents de température et très gênant à maintenir. En combinaison avec un schéma de cerclage complexe et toute une liste de restrictions pendant l'allumage, cette machine est très difficile à utiliser.
Chaudières à pyrolyse
Un type relativement nouveau. Le principe de l'apport de chaleur est basé sur la combustion du gaz de pyrolyse, qui est libéré après traitement thermique du combustible. Les fabricants régulent l'efficacité de ces chaudières à plus de 90%, ce qui n'est qu'un gadget publicitaire. Avec ce calcul d'efficacité, l'énergie dépensée pour le processus de pyrolyse est prise en compte.
La pyrolyse est le processus de décomposition du bois lorsqu'il est chauffé sans accès à l'air, ce qui s'accompagne de la libération de gaz combustible.
Le vrai modèle KDP, techniquement parfait de ce type de chaudière ne dépasse pas 75-80%. Et cela tient compte des conditions de fonctionnement idéales, ce qui signifie que l'humidité du carburant ne dépasse pas 10%. Avec une humidité croissante, l'efficacité de la chaleur bénéfique se dissipe rapidement. Il existe des risques supplémentaires qui surviennent pendant le fonctionnement. Le plus important est le flux potentiel de gaz de pyrolyse. Avec le chargement systématique de l'appareil avec du carburant à humidité élevée, la chambre du générateur de gaz brûle rapidement. Pour éviter cela, il est recommandé de doubler la chaudière avant chaque saison de chauffage.
Type de granule
La chaudière à combustible solide la plus avancée technologiquement que vous pouvez choisir. Il comprend un ensemble de systèmes de contrôle, d'automatisation des processus et de sécurité. À l'heure actuelle, ces équipements sont les plus chers, mais les plus avancés techniquement:
- haute efficacité - 85-90%;
- automatisation complète du processus de chargement des pastilles de combustible;
- système de contrôle flexible des conditions de température dans les pièces;
- degré élevé de sécurité pendant le fonctionnement.
Le dispositif et les caractéristiques techniques de la chaudière à granulés:

1. Trémie pour pellets;
2. Vis à granulés;
3. Moteur de vis sans fin;
4. Un tuyau pour alimenter le brûleur en combustible;
5. Distributeur de carburant au brûleur;
6. Nettoyant électrique pour cendres;
7. Échangeur de chaleur - le triple passage des gaz à haute température donne un rendement élevé;
8. Panneau de contrôle;
9. Fenêtres de contrôle pour la présence de pastilles de combustible dans la trémie.

Principe schématique du fonctionnement d'une chaudière à granulés.

Pastilles de combustible utilisées comme combustible dans ces chaudières.
À leur tour, les chaudières à granulés peuvent être divisées en trois types, selon le type de structure de l'élément principal de la chambre de combustion.
Brûleur torche
Il s'agit de la technologie la moins économique utilisée dans ce type d'équipement. La combustion du carburant se produit dans le flux d'air créé par le ventilateur, à des températures allant jusqu'à 12000C. Une caractéristique distinctive de cette technologie est la polyvalence et la simplicité de la qualité du carburant.

Lors du choix de ce type de brûleur, vous devez vous assurer qu'il y a une chambre de dosage supplémentaire (mise en évidence sur la figure) avec une vanne d'arrêt à clapet qui empêche la combustion inverse. Cela rendra le processus d'alimentation en granulés plus économique et plus sûr.
Grille
Avec cette méthode, les granulés de combustible sont introduits dans la trémie de stockage et de là, ils sont versés sous leur propre poids sur la grille. Ci-dessous, de l'air est pompé pour favoriser la combustion. Les fers à grille peuvent être fixes et mobiles. Ces derniers sont utilisés pour brûler du carburant de grandes fractions à forte teneur en cendres.

Chambre de combustion, une vanne d'alimentation en granulés est mise en évidence.

Grille, elle est également montée dans un plateau conique.
Brûleurs à cornue
Bol en acier ou en fonte sur lequel se produit la combustion. Les granulés sont introduits dans la goulotte par le bas avec une vis de chargement spéciale. L'air de combustion primaire est fourni de la même manière. L'air secondaire pour contrôler et intensifier le processus est fourni par les trous de la cornue.
Vidéo: alimentation en granulés dans un brûleur à cornue
Équipement supplémentaire pour la chaudière
Presque tous les modèles modernes ont en standard les fonctionnalités suivantes:
1. Allumage automatique - l'utilisation d'un sèche-cheveux haute température dans un boîtier à sécurité thermique protégé est optimale. Des éléments chauffants en métal ou en céramique sont également utilisés, mais ils sont moins durables. La méthode des électrodes est très sensible à la teneur en humidité des granulés.

2. Contrôle du système. Fondamentalement, divers types de thermostats sont utilisés pour contrôler la température du liquide de refroidissement et des sondes lambda, qui déterminent la quantité d'oxygène résiduel dans les gaz de combustion. Les deux détecteurs contrôlent la puissance du ventilateur forçant l'air dans le four.
Choisir le modèle le plus efficace
Avant de choisir une chaudière à combustible solide, il est nécessaire de déterminer sa puissance et les critères techniques auxquels elle doit répondre, à savoir:
#1. Un certificat d'adaptation de toutes les chaudières pour un fonctionnement sur le territoire de la Fédération de Russie.
#2. La présence de plusieurs modes de travail avec différents types de pellets.
#3. La possibilité d'utiliser un type de carburant différent.
#4. Niveau d'exigences de qualité du carburant;
#5. La présence d'eau chaude et la possibilité de permettre un mode de fonctionnement «été» économique;
#6. Fiabilité du travail continu à long terme en mode autonome;
#7. Le niveau de bruit reproductible dans différents modes de fonctionnement:
- chauffage standard;
- chauffage amélioré avec eau chaude;
- démarrage de l'allumage;
- fourniture de pastilles de combustible à partir de la trémie intérieure et extérieure;
#8. Possibilité de connecter un contrôle supplémentaire externe;
#9. Contrôle à l'échelle du régime de température des locaux;
#10. Accès et taille du bac à cendres;
#11. Disponibilité des systèmes de sécurité
- contrôle du tirage arrière;
- contrôle de la surchauffe du liquide de refroidissement;
- arrêt automatique d'urgence et système d'extinction d'incendie.
Règles d'installation et d'agencement de la chaufferie
Pour un fonctionnement pratique, l'installation d'une chaudière à granulés de combustible solide doit être effectuée dans une pièce spacieuse. Lors de sa mise en place, il est nécessaire de respecter les paramètres des retraits technologiques des murs et autres surfaces qui sont indiqués dans le passeport du produit.
Dans la pratique, il y a eu des cas où, après six mois de fonctionnement, il a été constaté qu'il était impossible d'ouvrir le cendrier pour le nettoyer.
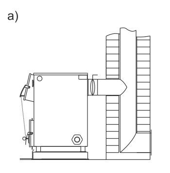
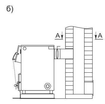
Le principal critère d'adéquation de la pièce est une bonne ventilation naturelle ou forcée et une cheminée bien agencée. Les schémas de dispositifs de cheminée les plus couramment utilisés, vous pouvez voir ci-dessous:


Schéma A et dispositif B de la cheminée dans la maison. Comme canal d'échappement, des conduits de ventilation sont utilisés, disposés dans un mur maigre. Ces canaux doivent être isolés du système de ventilation naturelle principal de la maison.

Schéma B - retrait de la cheminée de la chaufferie située au sous-sol.


Les schémas D et D sont le dispositif d'une cheminée externe d'une chaufferie ou d'une maison spécialement construite.
Dans toutes les versions du dispositif de cheminée, vous devez installer:
- pare-étincelles sur la cheminée;
- sceller le manchon de transition dans la chaufferie;
- dispositif de drainage.
L'installation d'une chaudière à combustible solide est recommandée sur un coussin de fondation avec une couche d'isolation thermique. Il est nécessaire d'installer un analyseur de gaz spécial dans la pièce, si ce n'est pas standard sur le modèle acheté.
Règles d'installation de la trémie à granulés
En plus de la trémie intégrée, qui a un petit volume et doit souvent être remplie de carburant, de nombreux propriétaires connectent une trémie externe de grande capacité au système.

Tous les conteneurs sont adaptés au stockage de pellets, la condition principale est l'étanchéité de la structure, si elle est située à l'extérieur d'une pièce chauffée. Lors du choix du volume de la trémie, il est nécessaire de partir du standard; 1 tonne de pellets prend jusqu'à 2m3. la hauteur de construction n'est pas critique.
Il y a une opinion que dans les grandes capacités, les couches inférieures de granules sont broyées, ce n'est pas vrai. Les pastilles de combustible de haute qualité résistent à beaucoup de pression.
Le conteneur ne doit pas être situé à plus de 12 m de la chaudière. La conception compliquée de la tarière ou l'utilisation de trémies de transbordement des entraînements est autorisée, mais il est nécessaire d'utiliser exclusivement du carburant de haute qualité. Sinon, la poussière tombant dans le four en grande quantité réduira l'efficacité et pourrait endommager les mécanismes d'alimentation et de dosage de la chaudière.
Dans la partie inférieure du cône du bunker, sous la sortie de la prise de carburant, il est nécessaire de prévoir une révision pour l'élimination systématique des poussières. Si le cône a une petite section transversale, la masse de granules compressés sous pression se bloque. Dans ce cas, il est recommandé d'installer un dispositif spécial «agitateur à vis».

Trémie reliée à la chaudière.
Utilisation d'un accumulateur de chaleur et calcul de son volume pour une chaudière à combustible solide
Lors de l'utilisation d'appareils de chauffage puissants, il existe un risque de surchauffe du liquide de refroidissement. Et bien que les modèles modernes aient une automatisation parfaite qui empêche de telles situations, il est conseillé d'utiliser des dispositifs de stockage de chaleur spéciaux.
Les accumulateurs de chaleur remplissent les fonctions suivantes:
- régulation automatique de la distribution du liquide de refroidissement chauffé dans tout le système;
- utiliser comme tampon d'échangeur lors de la création de systèmes de chauffage hybrides avec plusieurs types d'appareils de chauffage;
- certains modèles peuvent servir de chaudière à eau chaude; augmenter l'efficacité de la chaudière en réduisant le nombre de réglages de tirage.
Tableau de calcul du volume de stockage de chaleur pour chaudière à combustible solide
| Capacité de stockage de chaleur (L) | Temps de chauffage de l'eau (h) à la puissance de la chaudière (kW) | ||||||||
|---|---|---|---|---|---|---|---|---|---|
| 20 | 25 | 30 | 35 | 40 | 15 | 50 | 55 | 60 | |
| 500 | 1,2 | 0,9 | 0,8 | 0,7 | 0,6 | 0,5 | 0,5 | 0,4 | 0,4 |
| 1000 | 2,3 | 1,9 | 1,6 | 1,3 | 1,2 | 1,0 | 0,9 | 0,8 | 0,8 |
| 1200 | 2,8 | 2,2 | 1,9 | 1,6 | 1,4 | 1,2 | 1,1 | 1,1 | 0,9 |
| 1500 | 3,5 | 2,8 | 2,3 | 2,0 | 1,7 | 1,6 | 1,4 | 1,3 | 1,2 |
| 1800 | 4,2 | 3,4 | 2,8 | 2,4 | 2,1 | 1,9 | 1,7 | 1,5 | 1,4 |
| 2000 | 4,7 | 3,7 | 3,1 | 2,7 | 2,3 | 2,1 | 1,9 | 1,7 | 1,6 |
| 2400 | 5,6 | 4,5 | 3,7 | 3,2 | 2,8 | 2,5 | 2,2 | 2,0 | 1,9 |
| 3000 | 7,0 | 5,6 | 4,7 | 4,0 | 3,5 | 3,1 | 2,8 | 2,5 | 2,3 |
| 3500 | 8,1 | 6,5 | 5,4 | 4,7 | 4,1 | 3,6 | 3,3 | 3,0 | 2,7 |
| 4000 | 9,3 | 7,4 | 6,2 | 5,3 | 4,7 | 4,1 | 3,7 | 3,4 | 3,1 |
| 4500 | 10,5 | 8,4 | 7,0 | 6,0 | 5,2 | 4,7 | 4,2 | 3,8 | 3,5 |
| Le vert indique les volumes optimaux pour les capacités respectives de la chaudière. | |||||||||
Différents types et configurations de tuyauterie de chaudière à combustible solide
Il existe de nombreuses façons de connecter la chaudière et l'équipement connexe au système de chauffage général de la maison. Considérez les plus courants d'entre eux.
Le réservoir de stockage agit comme une chaudière ECS
La conception du réservoir de stockage est une spirale située à l'intérieur de l'accumulateur de chaleur.Le caloporteur chaud qui se trouve à l'intérieur chauffe l'eau courante du circuit d'eau chaude. En cas de brûlure et d'arrêt de la chaudière, l'accumulateur de chaleur vous permet de maintenir une température ambiante acceptable, jusqu'à 2 jours. A condition que la fonction ECS ne soit pas utilisée.
Un thermo-mélangeur automatique est utilisé pour contrôler l'admission et la température du liquide de refroidissement:

- Vanne à bille;
- Thermomètre;
- Pompe
L'appareil est également équipé d'un clapet anti-retour, d'une vanne automatique de secours à circulation naturelle (en cas de panne de courant), d'un ventilateur thermique intégré et d'un raccord.
Le principe de fonctionnement de l'appareil est le suivant. Lorsque le liquide de refroidissement atteint une certaine température (780C), la vanne thermique ouvre l'alimentation en eau du variateur. La température est maintenue à un niveau prédéterminé en ajustant la section transversale du passage de retour du système de chauffage central au canal de dérivation.
Schéma de raccordement d'une chaudière à combustible solide à un accumulateur de chaleur à double usage:

1. Groupe de sécurité;
2. Réservoir de stockage thermique;
3. Mélangeur thermique;
4. Type de membrane de vase d'expansion;
5. Système de maquillage de valve;
6. Pompe de circulation du système de chauffage;
7. Radiateurs
8. Vanne de mélange à trois voies;
9. Clapet anti-retour;
10. Pompe de circulation ECS.
Connexion de l'accumulateur de chaleur et d'une chaudière ECS séparée
Le volume de la chaudière pour le chauffage passif du système d'ECS dépend du nombre de consommateurs et de la puissance de l'équipement utilisé. Lors du montage de chaudières à granulés, il n'est pas recommandé d'utiliser des matériaux et des structures en polypropylène. La température de sortie de l'échangeur de chaleur aux charges de pointe dépasse souvent les performances des tuyaux en matériaux polymères.
Exploiter une chaudière à combustible solide avec une chaudière à eau chaude séparée:

1. La chaudière.
2. Groupe de sécurité.
3. Réservoir à membrane d'expansion.
4. Pompe de circulation.
5. Mélangeur à trois voies manuel.
6. Système de maquillage de valve.
7. Radiateur de chauffage.
8. Chaudière à eau chaude sanitaire chauffage indirect.
9. Réservoir de stockage thermique.
Connexion parallèle de deux chaudières de chauffage
Afin de prolonger la durée de vie et de répartir uniformément les ressources utilisées, les utilisateurs combinent souvent deux types de sources de chauffage différents en un seul système d'approvisionnement en chaleur. Dans ce cas, la principale source de chaleur en hiver est une chaudière à combustible solide. La chaudière électrique est allumée en mode d'urgence et pendant les mois d'été lorsqu'elle est utilisée pour chauffer l'eau.
La disposition de la fixation d'une chaudière à combustible solide avec une connexion électrique parallèle:

1. Chaudière à pellets.
2. Groupe de sécurité du système de chauffage.
3. Chaudière alternative (électrique ou gaz).
4. Séparateur pour éliminer l'air du système.
5. Pompe de circulation.
6. Mélangeur à trois voies manuel.
7. Vanne de protection contre la marche à sec.
8. Vase d'expansion.
9. Vanne d'appoint d'eau.
10. Réservoir de stockage thermique.
11. Radiateur de chauffage.
12. Lavabo.
13. Pompe de circulation ECS.
Le système de chauffage basé sur une chaudière à granulés est assez complexe et nécessite un réglage minutieux. Avant d'effectuer des travaux d'installation, lisez attentivement le matériel didactique fourni par les fabricants.
Avis sur les papiers peints Marburg pour toutes les collections Marburg
Avis sur la brique de parement de différents types et son utilisation pour la décoration murale
Avis sur les porte-serviettes chauffés à l'eau, lesquels sont meilleurs
Comment utiliser un lave-vaisselle - instructions détaillées
Contenu:
- Choisir le type optimal de chaudière et d'équipement à combustible solide
- Caractéristiques d'installation et d'agencement de la chaufferie
- Utilisation d'un accumulateur de chaleur et calcul de son volume pour une chaudière à combustible solide
- Différents types et configurations de tuyauterie de chaudière à combustible solide